Предотвращение динамической нестабильности у поворотной регулирующей арматуры
Ханс Бауманн (Hans Baumann), в прошлом вице-президент компаний Masoneilan, Fisher Controls.
В настоящее время является международным консультантом. Автор 106 патентов США, 200 публикаций и семи книг, включая учебник по регулирующей арматуре.
Д-р Бауманн является почетным членом МСА и членом ASME.
Поворотная регулирующая арматура, будучи весьма привлекательной по цене начиная с DN 100, может испытывать проблемы с динамической нестабильностью при изменяющихся режимах работы. Некоторые из возможных режимов могут привести клапан к внезапному закрытию и выводу его из рабочего состояния, или привести к постоянной нестабильности, отрицательно сказывающейся на управлении потоком рабочей среды.
Почти всегда динамическая нестабильность возникает при угле открытия 70 градусов, или между 18…20 градусами от горизонтальной оси. Интересно, что аналогичные проблемы возникают у крыла самолета при достижении данного угла атаки и превышения его. При превышении угла 20 градусов, самолет резко теряет подъемную силу. Все это, результат феномена срыва ламинарного потока, обтекающего поверхность крыла и его мгновенное превращение в полностью турбулентный поток.

Рисунок 1. Демонстрация угла атаки крыла, а также угла, под которым поворотная арматура может испытывать динамическую нестабильность
На рисунке 1 показан угол срыва потока крыла самолета, а также аналогичный эффект, наблюдаемый у дискового затвора и сегментного регулирующего клапана. Все примеры демонстрируют сходное поведение: при достижении угла открытия более 70 градусов, на плоских поверхностях направленных вниз ламинарный поток переходит в турбулентный, с ослаблением силы, направленной на открытие диска. При этом, проходящий поток создает подъемную силу на плоскостях, направленных вверх, и действует в направлении закрытия. Особенно сильному влиянию подвержены дисковые затворы, поскольку они имеют наибольшие площади поверхности. В связи с этим, немецкий стандарт VDMA рекомендует ограничивать угол поворота регулирующего дискового затвора значением в 70 градусов. Данное явление, обусловленное механикой потока, и распространяется на многие типы поворотной арматуры такие как, дисковые затворы, сегментные клапаны.
Как и в случае с прочими динамическими нестабильностями, проблема заключается не сколько в величине возникающего крутящего момента, сколько в скорости его изменения. В случае применения арматуры с пневматическим приводом это накладывает дополнительные требования к жесткости пружинного модуля привода для компенсации внезапных изменений.
На рисунке 2 показано лавинообразное изменение крутящего момента при угле открытия около 75 градусов.

Рисунок 2. Условные значения крутящего момента для дискового затвора
Дисковые затворы
Для начала немного истории. Во время экспериментов над дисковым затвором Ду250 на проливной установке я медленно открывал диск под рабочим перепадом. Делал я это игнорируя требования техники безопасности, с помощью гаечного ключа, накинутого на вал арматуры. Все было нормально, пока открытие не приблизилось к углу в 70 градусов. Внезапно гаечный ключ вырвало у меня из рук, и затвор захлопнулся, вызвав гидроудар в трубопроводе.<.p>
На рисунке 2 показана динамическая характеристика крутящего момента дискового затвора. Например, для затвора DN 200 с перепадом давления 1,5 кгс/см² требуется крутящий момент 60 Нм при открытии 40 градусов, и 150 Нм при открытии 70 градусов, после чего момент меняется на противоположный. Обычный привод не способен выдержать такое внезапное изменение крутящего момента. Чтобы избежать такого резкого закрытия, необходимо закладывать существенный запас по крутящему моменту. В данном примере следует выбирать привод на 405 Нм, а с учетом коэффициента запаса еще больше.
Однако разумнее ограничить угол поворота дискового затвора углом в 60 градусов.
Пунктирная линия на рисунке 2 показывает преимущества использования симметричного диска с низким крутящим моментом, который не только снижает крутящий момент, но также позволяет избежать точки «перелома», с резким изменением момента.
Некоторые типы поворотной арматуры имеют конструктивные особенности, которые помогают предотвратить возникновение динамической нестабильности. Основная концепция состоит в создании турбулентности перед выходом потока из патрубка арматуры. Например, на рисунке 3 представлен дисковый затвор имеющий диск со специальной геометрией, устойчивый к динамическому крутящему моменту. На рисунке 4 поток на выходе разбивается перфорированной пластиной или частью её, подобное решение также снижает шум и позволяет избежать кавитации.
Рисунок 3 - Дисковый затвор со специальной геометрией. Рисунок 4 - Антишумовой дисковый затвор
Сегментные шаровые краны
Данный тип трубопроводной арматуры, составляющий значительную часть рынка, связанную с регулированием, могут страдать от такого же семидесятиградусного явления. На рисунке 5 показан сегментный шаровой кран в открытом положении, примерно на 70 градусов. В этот момент поток среды отделяется от почти параллельной внутренней поверхности шара и переходит в турбулентное состояние. Перед переходом в турбулентное состояние силы направлены на открытие крана. После перехода, та часть шара, которая все еще находится в потоке и подвергается воздействию перепада давления, внезапно пытается закрыть кран. Полученный в результате крутящий момент требуемый на приводе, необходимый для поддержания устойчивости крана, показан на рисунке 6.
Рисунок 5. Типовой сегментный шаровой кран с открытием 70 градусов
Кривая крутящего момента для крана Ду 150, при перепаде 3.5 кгс/см², представленная на рисунке 6, вначале стабильно прямая, и составляет 110…120 Нм. Этот крутящий момент обусловлен в основном трением в подшипниках и седле. Однако при открытии в 70 градусов он внезапно начинает возрастать, и достигает значения 320 Нм. Такой момент необходим для предотвращения закрытия сегмента крана. Данный эффект аналогичен рассмотренному ранее для дискового затвора.
Рисунок 6. Типовая характеристика крутящего момента сегментного шарового крана
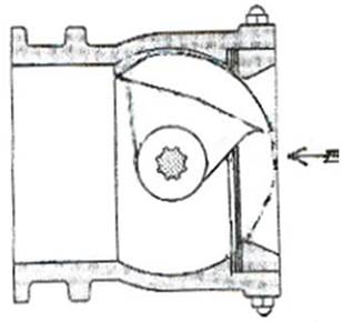
Поворотный клапан с эксцентрическим сегментным плунжером
Сегментный поворотный клапан с эксцентриситетом, представленный на рисунке 7, занимает значительную долю рынка. При работе в режиме «среда открывает» данная конструкция динамически стабильна. Однако, по различным соображениям, часто требуется установка в положение «среда закрывает». В этом случае силы потока, стремящиеся к уплотнению плунжера в седле, увеличиваются примерно до квадрата углового расстояния плунжера от седла. Это означает, означает, что если плунжер перемещается с 8 градусов открытия на 4 градуса от седла, то момент закрытия увеличивается в четыре раза. Такое резкое изменение крутящего момента, препятствующего закрытию, предъявляет высокие требования к приводу.
Используемый в конструкции пружинно-мембранный исполнительный механизм серии 35 (рисунок 8) стабилизирует плунжер клапана в потоке через рычаг. Кроме этого, указанный привод обладает дополнительными преимуществами, такими как малые весогабаритные характеристики и возможности реверсирования действия привода (НО/НЗ) по месту эксплуатации.
В003 - фиксатор седла;
В002 - седло;
В001 - корпус;
В004 - плунжер
Рисунок 7.Схематичное изображение сегментного клапана серии 35002
СО среда открывает;
СЗ среда закрывает;
34 - рычаг;
39 - пружина;
43 - поршень со штоком
Рисунок 8. Схематичное изображение пружинно-мембранного исполнительного механизма серии 35
Заключение
Поворотная регулирующая арматура получила признание благодаря своему весу и экономии места при монтаже. Данная статья представляет собой попытку показать существующие проблемы, связанные с нестабильностью, вибрацией, а также внезапным закрытием оборудования, и способы этого избежать.
Комментарии переводчика
Автор использует в статье неметрические единицы измерения (inch-lbs, inch, psi), и с целью адаптации читателей сделан перевод в привычные нам единицы (Нм, мм, кгс/см²).
К тексту оригинальной статьи добавлена информация по конструкции привода модели 35, включая схематическое изображение, для наиболее полного информирования читателя. Оборудование серии 35002 представленное в разделе «Поворотный клапан с эксцентрическим сегментным плунжером» производится по лицензии на территории РФ компанией ДС Контролз https://dscontrols.net
Статья опубликована в журнале Valve World, февраль 2021, «Preventing dynamic instability with rotary control valves»